Letecké bomby
-
Alchymista
- Redakční rada
- Příspěvky: 55740
- Registrován: 01 úno 2017, 08:58
Letecké bomby
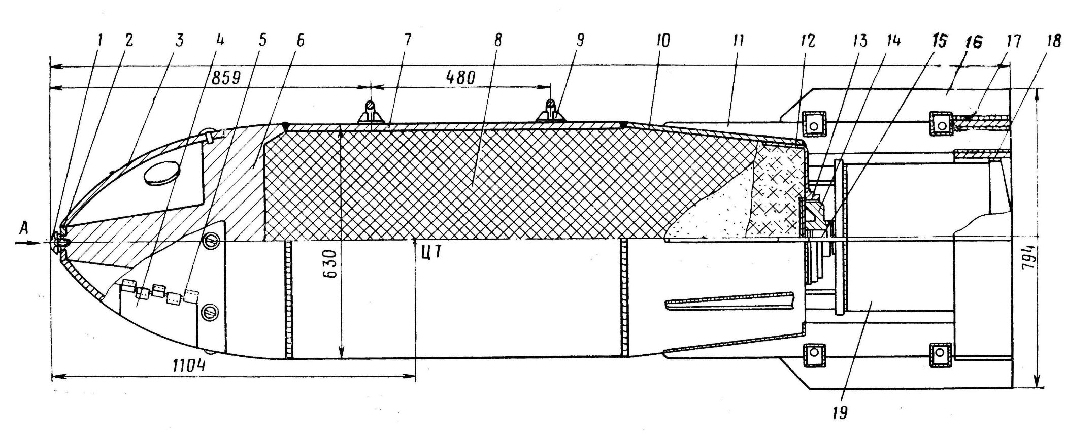
"Charakteristická doba pádu leteckej bomby" je základný "balistický koeficient" pre rôzne výpočty, je definovaná ako doba pádu leteckej bomby odhodenej z výšky 2000 metrov pri doprednej rýchlosti 40m/s (definícia platí už od čias "Iliji Muromca" :cool: ) a pre nebrzdené bomby bežne dosahuje 20,25 až 35 sekúnd.
Balistický koeficient bomby sa vypočíta zo vzorca:
Tchar = 20,193 + 0,809*k
k = (Tchar - 20,193)/0,809
kde
- Tchar je charakteristická doba pádu
- 20,193 je doba pádu z výšky 2000 metrov vo vákuu
- k je balistický koeficient bomby
Na ruskej bombe býva písaná bielou v tvare zlomku, často v rámiku, nad čiarou je Tchar z danej oblasti výšky, pod čiarou výška v km, bomby s brzdiacimi zariadeniami majú takých zlomkov rámikov aj niekoľko, pre rôzne úseky dráhy
--------------------------------------------------------------------
Čo znamená rôzne doplnkové označenie v označení riadených bômb KAB
- L - Лазерная полуактивная ГСН флюгерного типа - laserová hlavica samonavedenia "veterníkového" typu - takéto hlavičky mali ako detektor "kvadrantovú" fotodiodu (v podstate päť detektorov - centrálny a štyri segmenty)
- LG - Лазерная гиростабилизированная - laserová "gyrostabilizovaná" hlavica (buď samotná hlavica, alebo tam je pridaný stabilizačný autopilot)
Hlavička 24N1 by už mala byť typu LG, typ L by mali byť v Rusku pomerne málo používané hlavičky s detektorom "amerického typu" - také to malé teleso s prstencovým "stabilizátorom" na "sosáku", práve tomuto telesu rusi občas hovoria "fljuger", veterník - česky sa to prekladá ako (veterná) "korouhvička".
U novších rakeit a bômb sa už rozlíšenie L/LG používa málo a väčšina je typu LG, hoci je označená len L
- Kr - Телевизионно-корреляционная - televízna-korelačná - televízia funguje pri zamierení, potom hlavica si uchováva obraz cieľa a navádza sa naň - v podstate samonavedenie, princíp vystreľ a zabudni. Staršie hlavičky s televíznym korelačným systémom mohli mať aj systém s pamäťovou obrazovkou (elektronkou). A to sa len tak ľahko polovodičmi nenahradí...
- TK - Телевизионно-командная - televízna povelová, teda povelovo riadená až po dopad
- S - navedenie pomocou družicovej navigácie GLONASS/GPS
Balistický koeficient bomby sa vypočíta zo vzorca:
Tchar = 20,193 + 0,809*k
k = (Tchar - 20,193)/0,809
kde
- Tchar je charakteristická doba pádu
- 20,193 je doba pádu z výšky 2000 metrov vo vákuu
- k je balistický koeficient bomby
Na ruskej bombe býva písaná bielou v tvare zlomku, často v rámiku, nad čiarou je Tchar z danej oblasti výšky, pod čiarou výška v km, bomby s brzdiacimi zariadeniami majú takých zlomkov rámikov aj niekoľko, pre rôzne úseky dráhy
--------------------------------------------------------------------
Čo znamená rôzne doplnkové označenie v označení riadených bômb KAB
- L - Лазерная полуактивная ГСН флюгерного типа - laserová hlavica samonavedenia "veterníkového" typu - takéto hlavičky mali ako detektor "kvadrantovú" fotodiodu (v podstate päť detektorov - centrálny a štyri segmenty)
- LG - Лазерная гиростабилизированная - laserová "gyrostabilizovaná" hlavica (buď samotná hlavica, alebo tam je pridaný stabilizačný autopilot)
Hlavička 24N1 by už mala byť typu LG, typ L by mali byť v Rusku pomerne málo používané hlavičky s detektorom "amerického typu" - také to malé teleso s prstencovým "stabilizátorom" na "sosáku", práve tomuto telesu rusi občas hovoria "fljuger", veterník - česky sa to prekladá ako (veterná) "korouhvička".
U novších rakeit a bômb sa už rozlíšenie L/LG používa málo a väčšina je typu LG, hoci je označená len L
- Kr - Телевизионно-корреляционная - televízna-korelačná - televízia funguje pri zamierení, potom hlavica si uchováva obraz cieľa a navádza sa naň - v podstate samonavedenie, princíp vystreľ a zabudni. Staršie hlavičky s televíznym korelačným systémom mohli mať aj systém s pamäťovou obrazovkou (elektronkou). A to sa len tak ľahko polovodičmi nenahradí...
- TK - Телевизионно-командная - televízna povelová, teda povelovo riadená až po dopad
- S - navedenie pomocou družicovej navigácie GLONASS/GPS
COVID-19 nie je choroba, COVID-19 je globálny test inteligencie jedincov, spoločenstiev, národov a štátov.
Dinosauri sa venovali výhradne problémom vlastného rastu.
Dinosauri sa venovali výhradne problémom vlastného rastu.
-
Alchymista
- Redakční rada
- Příspěvky: 55740
- Registrován: 01 úno 2017, 08:58
Re: Letecké bomby
skflanker poslal:
OFAB-250-270

BetAB-500

RBK-500 AO-2.5RTM

RBK-500 SPBE-D

Výroba a montáž bômb typy RBK:
OFZAB-500

OFAB-500ShR (ОФАБ-500ШР)


Su-34 červená 02 (RF-95802) + 4x ZB-500ŠM:

http://russianplanes.net/ID186185
ZAB-250-200 + ZB-500ŠM:

RBK-500 ZAB-2.5


submunícia ZAB-2.5

Použitie v Sýrii zo 07.06.2016:
Ďalšie info:
http://www.russianarms.ru/forum/index.php?topic=4559.0
Prehľad ruských bômb:
http://ru.wikipedia.org/wiki/%D0%90%D0% ... 8%D1%8F%29
OFAB-250-270

BetAB-500

RBK-500 AO-2.5RTM

RBK-500 SPBE-D

Výroba a montáž bômb typy RBK:
OFZAB-500

OFAB-500ShR (ОФАБ-500ШР)

Su-34 červená 02 (RF-95802) + 4x ZB-500ŠM:

http://russianplanes.net/ID186185
ZAB-250-200 + ZB-500ŠM:

RBK-500 ZAB-2.5


submunícia ZAB-2.5

Použitie v Sýrii zo 07.06.2016:
http://www.russianarms.ru/forum/index.php?topic=4559.0
Prehľad ruských bômb:
http://ru.wikipedia.org/wiki/%D0%90%D0% ... 8%D1%8F%29
M4rt3l píše:
COVID-19 nie je choroba, COVID-19 je globálny test inteligencie jedincov, spoločenstiev, národov a štátov.
Dinosauri sa venovali výhradne problémom vlastného rastu.
Dinosauri sa venovali výhradne problémom vlastného rastu.
-
Alchymista
- Redakční rada
- Příspěvky: 55740
- Registrován: 01 úno 2017, 08:58
Re: Letecké bomby
Veľmi poučné video.
trochu detailov - bombička má mierne odlišnú konštrukciu a iný zapalovač, ako bombička používaná v 80. rokoch v ČSLA (je tiež o cca 10 rokov novšia):
0:20-0:50 spôsob uloženia AO-2,5RT v prepážkach kontajneru. Podľa čísiel sú bombičky z roku 1989 - štvrť storočia staré, a zrejme nesprávne skladované, preto to množstvo zlyhaných (zavlhnuté oneskorovače a výmetné náplne)
0:52-1:39 - otváranie bombičky - v skutočnosti už je "otvorená", sníme jednu"bojovú časť", ktorá je pri normálnej činnosti odstrelená od zapalovaču v strede
1:42 - ukazuje oneskorovač, na konci ktorého je rozbuška
1:48 - vložený hliníkový diel je výmetná náplň, obsahuje čierny prach, úlohou je zapáliť oneskorovač a odhodiť túto "bojovú časť" od zapalovač
2:00 - ukazuje zapalovač v púzdre a jeho umiestnenie v bombičke
2:40 - zapalovač bez púzdra
2:49 - druhá "výmetná náplň" pre "spodnú" bojovú časť
2:59 - konštrukcia zapalovaču s úderkami v tvare Y a odstredivými poistkami
3:40 - takto by mali byť časti uložené pred odistením
3:55 - takto sa zapalovač odistí pri rotácii - odstredivá sila prekoná odpor odpružených guličiek v poistkách a tie sa presunú, čím umožnia vzájomný pohyb úderiek. V odistenej polohe sa poistky opäť zaistia proti pohybu odpruženými guličkami voči púzdru.
4:00 - ukazuje pohyb úderiek pri náraze na prekážku - úderky sa pohybujú zotrvačnosťou a pri bočnom náraze sú voči sebe riadené dvomi vodítkami okolo ihly a náliatkami v púzdre (náliatky púzdra sú vo vrchole úderiek tvaru Y)
4:17 - práve sňal "koleso" - prstenec s "veterníkom" - jeho úlohou je počas pádu roztočiť bombičku na otáčky dostatočné na odistenie odstredivých poistiek
4:30 - významný rozdiel proti staršej konštrukcii - vymontovaný diel, vonkajšie púzdro zapalovaču, je tu súčasťou druhej "bojovej časti", u staršej konštrukcie bol tento diel samostaný a bojové časti boli identické
4:35 - ukazuje vzhľad oneskorovača s rozbuškou a počinovou náplňou, v "bojovej časti" vidno pod kartónom priamo náplň trhaviny
4:50 - ukazuje rozdrvenú náplň trhaviny a vnútorné drážkovanie plášťa bojovej časti, ktoré riadi rozklad na črepiny
5:15 - rozoberá "výmetnú náplň" a vysýpa z nej čierny prach - v 5:28 ho zapáli
COVID-19 nie je choroba, COVID-19 je globálny test inteligencie jedincov, spoločenstiev, národov a štátov.
Dinosauri sa venovali výhradne problémom vlastného rastu.
Dinosauri sa venovali výhradne problémom vlastného rastu.
-
Alchymista
- Redakční rada
- Příspěvky: 55740
- Registrován: 01 úno 2017, 08:58
Re: Letecké bomby
skflanker_ píše:Narazil som na blog z roku 2014 z výstavy ohľadom čínskych bômb - riadených / neriadených:
http://trishul-trident.blogspot.ru/2014 ... po-at.html
napríklad čo sa teraz používa v Iraku / Sýrii:
COVID-19 nie je choroba, COVID-19 je globálny test inteligencie jedincov, spoločenstiev, národov a štátov.
Dinosauri sa venovali výhradne problémom vlastného rastu.
Dinosauri sa venovali výhradne problémom vlastného rastu.
-
Alchymista
- Redakční rada
- Příspěvky: 55740
- Registrován: 01 úno 2017, 08:58
Re: Letecké bomby
BETAB nie - ten by šiel dolu hnaný raketovým motorom. Toto je niektorá zo série FAB-500Š / FAB-500ŠN.
Ale "aerosolová" ODAB-500 skôr nie
COVID-19 nie je choroba, COVID-19 je globálny test inteligencie jedincov, spoločenstiev, národov a štátov.
Dinosauri sa venovali výhradne problémom vlastného rastu.
Dinosauri sa venovali výhradne problémom vlastného rastu.
-
Alchymista
- Redakční rada
- Příspěvky: 55740
- Registrován: 01 úno 2017, 08:58
Re: Letecké bomby
"odhodiť bombu" vyzerá ako jednoduchá záležitosť - ale jednoduché to vôbec nie je
Nevydarené a menej vydarené odhody bômb a prídavných nádrží
Nevydarené a menej vydarené odhody bômb a prídavných nádrží
COVID-19 nie je choroba, COVID-19 je globálny test inteligencie jedincov, spoločenstiev, národov a štátov.
Dinosauri sa venovali výhradne problémom vlastného rastu.
Dinosauri sa venovali výhradne problémom vlastného rastu.
- Grif
- Sponzor fóra
- Příspěvky: 5359
- Registrován: 07 úno 2017, 13:04
Re: Letecké bomby
Tak to je mazec,vůbec by mě nenapadlo,že se něco takového může stát. To co letělo na konci videa,byl urvanej kanón?
Všechno se dá vysvětlit.Bohužel ne všem.
-
Alchymista
- Redakční rada
- Příspěvky: 55740
- Registrován: 01 úno 2017, 08:58
Re: Letecké bomby
F-15 a mnohozamkový nosník MER (BRU-41?).
Evidentne sa mu tam nejak zachytila jedna bomba Mk-82 Snakeye (na jeden MER sa ich vešia až šesť), zamok sa ale otvoril/odomkol (bomba nie je súosá s nosníkom), tak to zahodil celé.
Havaria A-4 Skyhawk pri testoch F-18 - odhody bômb (tuším z roku 1984). Odhadzovany je nosník/závesník TER pre tri bomby, podvesený jednou bombou. V dôsledku pôsobenia aerodynamických síl potom urobí čo urobí...
Všetci zúčastnený prežili.
Evidentne sa mu tam nejak zachytila jedna bomba Mk-82 Snakeye (na jeden MER sa ich vešia až šesť), zamok sa ale otvoril/odomkol (bomba nie je súosá s nosníkom), tak to zahodil celé.
Havaria A-4 Skyhawk pri testoch F-18 - odhody bômb (tuším z roku 1984). Odhadzovany je nosník/závesník TER pre tri bomby, podvesený jednou bombou. V dôsledku pôsobenia aerodynamických síl potom urobí čo urobí...
Všetci zúčastnený prežili.
COVID-19 nie je choroba, COVID-19 je globálny test inteligencie jedincov, spoločenstiev, národov a štátov.
Dinosauri sa venovali výhradne problémom vlastného rastu.
Dinosauri sa venovali výhradne problémom vlastného rastu.
- skflanker_
- Sponzor fóra
- Příspěvky: 11689
- Registrován: 07 úno 2017, 20:22
Re: Letecké bomby
Agitačná / letáková / propagandistická bomba PDU-5B
Zdroj http://www.af.mil/News/Article-Display/ ... omb-drops/ z 26.07.2017
Zdroj http://www.airforce-technology.com/news ... am-5886352 z 31.07.2017
Do jednej kazety PDU-5B dokážu vložiť 60.000 letákov.
Zdroj http://www.airforce-technology.com/news ... am-5886352 z 31.07.2017
Do jednej kazety PDU-5B dokážu vložiť 60.000 letákov.
- skflanker_
- Sponzor fóra
- Příspěvky: 11689
- Registrován: 07 úno 2017, 20:22
Re: Letecké bomby
Grafitové bomby / submunícia
Grafitová bomba / submunícia sa používa pre vyradenie elektrických vedení / rozvodní z prevádzky. Obsahuje zvitky uhlíkových vlákien ktoré sú elektricky vodivé a tým na elektrickom vedení spôsobia skrat, na ktorý reaguje každá ochrana vedenia a vedenie / rozvodňa sa vypne. Pokiaľ sa z vedenie neodstránia všetky tieto vlákna, nie je možné zapnúť. Neúčinkuje to na izolovaných vedeniach - tie sa ale používajú veľmi výnimočne.
Submunícia: Video z bývalej Juhoslácvie kde sa to bežne používalo:
https://youtu.be/QY904Uj859g zverejnené 11.04.2009, dĺžka videa 0:30 min.
Popis z videa:
Grafitová bomba / submunícia sa používa pre vyradenie elektrických vedení / rozvodní z prevádzky. Obsahuje zvitky uhlíkových vlákien ktoré sú elektricky vodivé a tým na elektrickom vedení spôsobia skrat, na ktorý reaguje každá ochrana vedenia a vedenie / rozvodňa sa vypne. Pokiaľ sa z vedenie neodstránia všetky tieto vlákna, nie je možné zapnúť. Neúčinkuje to na izolovaných vedeniach - tie sa ale používajú veľmi výnimočne.
Submunícia: Video z bývalej Juhoslácvie kde sa to bežne používalo:
https://youtu.be/QY904Uj859g zverejnené 11.04.2009, dĺžka videa 0:30 min.
Popis z videa:
- skflanker_
- Sponzor fóra
- Příspěvky: 11689
- Registrován: 07 úno 2017, 20:22
Re: Letecké bomby
Su-25 a prídavné palivové nádrže - 3ks sa oddelili správne, jednej sa "zasekol" jeden zámokAlchymista píše: ↑09 črc 2017, 16:27"odhodiť bombu" vyzerá ako jednoduchá záležitosť - ale jednoduché to vôbec nie je
Nevydarené a menej vydarené odhody bômb a prídavných nádrží
Video GIF:
- El Diablo
- Redaktor - závislák :-)
- Příspěvky: 6326
- Registrován: 07 úno 2017, 18:56
Re: Letecké bomby
Butterfly Bomb: 4 Pound Fragmentation Bomb M83 1945 US Navy; WWII Cluster Bomb
Co cítíte, když střílíte teroristy?
Zpětný ráz.
http://www.eldiablo.webz.cz/
Takže se sejdeme v Šestce na Šedesát šestce zejtra ráno v šest. Zapamatuješ si to?
Můžeš mi to ještě šestkrát zvopakovat?
I šestiletý dítě by si to pamatovalo.
Zpětný ráz.
http://www.eldiablo.webz.cz/
Takže se sejdeme v Šestce na Šedesát šestce zejtra ráno v šest. Zapamatuješ si to?
Můžeš mi to ještě šestkrát zvopakovat?
I šestiletý dítě by si to pamatovalo.
-
Alchymista
- Redakční rada
- Příspěvky: 55740
- Registrován: 01 úno 2017, 08:58
Re: Letecké bomby
Sovietske a ruské letecké bomby ťažších kalibrov
.
.
.
COVID-19 nie je choroba, COVID-19 je globálny test inteligencie jedincov, spoločenstiev, národov a štátov.
Dinosauri sa venovali výhradne problémom vlastného rastu.
Dinosauri sa venovali výhradne problémom vlastného rastu.
- skflanker_
- Sponzor fóra
- Příspěvky: 11689
- Registrován: 07 úno 2017, 20:22
Re: Letecké bomby
Nová automatizovaná výrobná linka pre bomby rodiny FAB-500
https://youtu.be/oLDz8VptlT4 zverejnené 08.12.2017, dĺžka videa 2:16 min.
https://youtu.be/e7VczpVxYfU zverejnené 08.12.2017, dĺžka videa 2:13 min.
https://youtu.be/oLDz8VptlT4 zverejnené 08.12.2017, dĺžka videa 2:16 min.
https://youtu.be/e7VczpVxYfU zverejnené 08.12.2017, dĺžka videa 2:13 min.
- skflanker_
- Sponzor fóra
- Příspěvky: 11689
- Registrován: 07 úno 2017, 20:22
Re: Letecké bomby
ODAB-500 - zostrih videí za rok 2017 vraj zo Sýrskeho mesta Latamna
https://youtu.be/ypke4J6TvEw zverejnené 31.12.2017, dĺžka videa 3:33 min.
Zdroj https://twitter.com/MahmodHamway/status ... 3119239168 z 31.12.2017 s príslušným komentárom autora
https://youtu.be/ypke4J6TvEw zverejnené 31.12.2017, dĺžka videa 3:33 min.
Zdroj https://twitter.com/MahmodHamway/status ... 3119239168 z 31.12.2017 s príslušným komentárom autora
- WuVirr
- Šéfredaktor
- Příspěvky: 5687
- Registrován: 01 úno 2017, 15:31
Re: Letecké bomby
Ruští vojáci dostanou samonaváděcí Drel
Ruští vojáci získají v roce 2018 do výzbroje nejmodernější klouzavou leteckou pumu Drel (vrtačka) ráže 500 kg, informují ruská média.
Ruští vojáci získají v roce 2018 do výzbroje nejmodernější klouzavou leteckou pumu Drel (vrtačka) ráže 500 kg, informují ruská média.
Více zde: https://cz.sputniknews.com/svet/2018010 ... stat-drel/„Je to nový základní vzorek klouzavé bombové kazety ráže 500 kg se samonaváděcími bojovými prvky," řekl Vladimir Lepin, generální ředitel koncernu Techmaš, který vyvinul tuto zbraň.
- skflanker_
- Sponzor fóra
- Příspěvky: 11689
- Registrován: 07 úno 2017, 20:22
Re: Letecké bomby
▲ ide o bombu PBK-500U SPBE-K "Dreľ" (ПБК-500У СПБЭ-К "Дрель") (Dreľ / Дрель = vrtačka)
PBK (ПБК) = "Kĺzavá" kazetová bomba (Планирующая бомбовая кассета) (zatiaľ takú kategóriu nemajú ani na wiki)
RBK (РБК) = Jednorázová kazetová bomba (Разовая бомбовая кассета)
PBK vychádza z RBK s tým že má kĺzavý let navádzaný pomocou Inerciálneho navigačného systému + doplnený o GLONASS
dĺžka = 3100 mm = 3,1 m
priemer = 450 mm = 45 cm
výška odhodu od 100 m do 14000m = 14 km
rýchlosť odhodu od 700 km/h do 1100 km/h
dosah maximálne 50 km (závislé od rýchlosti a výšky odhodu)
kapacita kazety = 15 ks aktívnej submunície SPBE-K (СПБЭ-К)
Viac info:
https://defendingrussia.ru/enc/bombovyj ... 500u-1225/ z 19.12.2014
http://tass.ru/armiya-i-opk/3600536 z 07.09.2016
https://svbr.livejournal.com/75258.html z 08.06.2016
RBK (РБК) = Jednorázová kazetová bomba (Разовая бомбовая кассета)
PBK vychádza z RBK s tým že má kĺzavý let navádzaný pomocou Inerciálneho navigačného systému + doplnený o GLONASS
dĺžka = 3100 mm = 3,1 m
priemer = 450 mm = 45 cm
výška odhodu od 100 m do 14000m = 14 km
rýchlosť odhodu od 700 km/h do 1100 km/h
dosah maximálne 50 km (závislé od rýchlosti a výšky odhodu)
kapacita kazety = 15 ks aktívnej submunície SPBE-K (СПБЭ-К)
Viac info:
https://defendingrussia.ru/enc/bombovyj ... 500u-1225/ z 19.12.2014
http://tass.ru/armiya-i-opk/3600536 z 07.09.2016
https://svbr.livejournal.com/75258.html z 08.06.2016
-
kenavf
- Sponzor fóra
- Příspěvky: 12903
- Registrován: 07 úno 2017, 19:59
Re: Letecké bomby
Akosi sa mi nezdá ten dosah "maximálne 50km"
Krýdla to nemá,čo by jej malo umožnť tak ďaleké doplachtenie?
Krýdla to nemá,čo by jej malo umožnť tak ďaleké doplachtenie?
"Vieru rozumom nevyvrátiš, to je vec emócií".
"Jediné čo potrebujú nečisté síly k svojmu víťazstvu je to, aby slušní ľudia neurobili nič." -Edmund Burke.
"Jediné čo potrebujú nečisté síly k svojmu víťazstvu je to, aby slušní ľudia neurobili nič." -Edmund Burke.
- skflanker_
- Sponzor fóra
- Příspěvky: 11689
- Registrován: 07 úno 2017, 20:22
Re: Letecké bomby
Tu ide o kĺzavosť - čo žiaden zdroj neuviedol .. a kĺzavosť sa udáva pri rýchlosti, napríklad
L-13 Blaník Maximálna kĺzavosť 28:1 pri 90 – 100 km/h
VSO-10 Gradient Klouzavost: 36:1 při rychlosti 90 km/h
Ak budem čerpať z wiki tak pri výške 14km (14000m) bez udania rýchlosti za "ideálnych" podmienok:
L-13 Blaník (28) doletí 392 km
VSO-10 (36) doletí 504 km
Cessna 150 (7) doletí 98 km
Dopravák (17) doletí 238 km
Moderný vetroň (60) doletí 840 km
Rogalo (12) doletí 168 km
Padákové krídlo (7) doletí 98 km
Pre bombu PBK-500 ak je výška 14 km a dolet max 50 km tak kĺzavosť by mala mať okolo 3,5714
a potom tu je vztlak ktoré teleso vo vzduchu vytvorí - tiež nevieme, a potom hodnotu k = balistický koeficient bomby (prvý príspevok od Alchy)
Zatiaľ som čerpal iba z uvedených zdrojov - ak to budú skúšať v Sýrii, uvidíme
L-13 Blaník Maximálna kĺzavosť 28:1 pri 90 – 100 km/h
VSO-10 Gradient Klouzavost: 36:1 při rychlosti 90 km/h
Ak budem čerpať z wiki tak pri výške 14km (14000m) bez udania rýchlosti za "ideálnych" podmienok:
L-13 Blaník (28) doletí 392 km
VSO-10 (36) doletí 504 km
Cessna 150 (7) doletí 98 km
Dopravák (17) doletí 238 km
Moderný vetroň (60) doletí 840 km
Rogalo (12) doletí 168 km
Padákové krídlo (7) doletí 98 km
Pre bombu PBK-500 ak je výška 14 km a dolet max 50 km tak kĺzavosť by mala mať okolo 3,5714
a potom tu je vztlak ktoré teleso vo vzduchu vytvorí - tiež nevieme, a potom hodnotu k = balistický koeficient bomby (prvý príspevok od Alchy)
Zatiaľ som čerpal iba z uvedených zdrojov - ak to budú skúšať v Sýrii, uvidíme
-
Alchymista
- Redakční rada
- Příspěvky: 55740
- Registrován: 01 úno 2017, 08:58
Re: Letecké bomby
Krídla to samozrejme má - to máš len špatnú predstavu o tom, "čo je to krídlo" a "čo znamená dolet". Pozri sa napríklad na bomby JDAM - dolet až 28 km.

Druhá vec - zober si KAB-500Kr. Má uvádzaný dosah 15-17km z výšky 500-5000m pri rýchlosti 500-1150km/h. Čo to znamená? NIČ - dosah je limitovaný dohľadnosťou, ďalej ako na tých 15-17km kamera v hlavičke samonavedenia proste "nedovidí". A zároveň to znamená, že čisto aero-balisticky musí mať bomba KAB-500 dolet väčší ako tých 15-17km, pretože musí mať zásobu rýchlosti, zásobu kinetickej energie na korekcie dráhy (každý manéver, každý pohyb kormidiel stojí kinetickú energiu) - u KAB-500 to bude odhadom 20-25% dosahu, teda teoretický dosah by bol na úrovni aspoň 20-22km z výšky 5000m pri rýchlosti 320m/s (tj 1150km/h).
Tretia vec - napríklad Mig-25BR dokázal "hlúpu" FAB-500T zahodiť na diaľku ~80km z výšky 18000m a rýchlosti ~690m/s a na diaľku >>100km z výšky >21000m pri ~780m/s. CEP podľa použitého systému navedenia dosahoval 5-10 tisícin diaľky (tj. 400-800m) pri použití "systému navedenia stíhacieho letectva na pozemné ciele" a automatiky odhodenia a >20 tisícin (~2km) pri použití palubného zameriavacieho a navigačného systému a "ručného odhodenia"
COVID-19 nie je choroba, COVID-19 je globálny test inteligencie jedincov, spoločenstiev, národov a štátov.
Dinosauri sa venovali výhradne problémom vlastného rastu.
Dinosauri sa venovali výhradne problémom vlastného rastu.


