RF - Proti-raketová a proti-družicová obrana

inzo
Sponzor fóra
Příspěvky: 393
Registrován: 07 úno 2017, 21:14

Re: RF - Proti-raketová a proti-družicová obrana

Příspěvek od inzo » 30 říj 2020, 08:51

Testovanie novej rakety na saryšaganskom polygóne
Испытание новой ракеты ПРО на полигоне Сары-Шаган
https://colonelcassad.livejournal.com/6 ... tml#cutid1



Uživatelský avatar
skflanker_
Sponzor fóra
Příspěvky: 11689
Registrován: 07 úno 2017, 20:22

Re: RF - Proti-raketová a proti-družicová obrana

Příspěvek od skflanker_ » 27 led 2022, 20:29

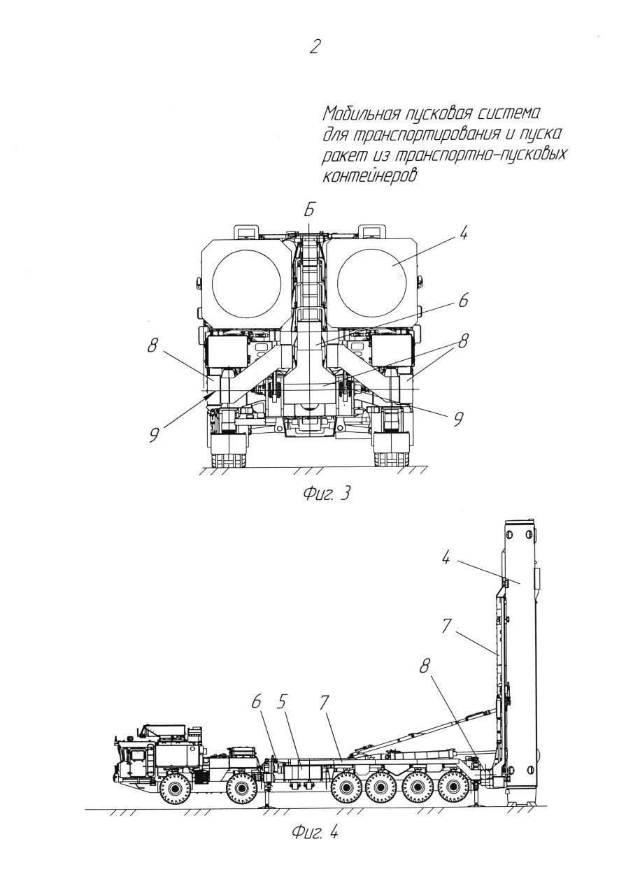
14P222 (14П222) je samohybné odpaľovacie zariadenie pre 2 rakety 14A042 (14А042) komplexu 14C033 OKR Nudoľ (14Ц033 ОКР Нудоль). Odpaľovacie zariadenie vyvinula konštrukčná kancelária špeciálneho strojárstva (КБСМ), ako podvozok jednotky sa používa špeciálny kolesový podvozok MZKT-792911 (МЗКТ-792911).
Zdroj ilustrácie: patent RU 187 952 U1, držiteľom patentu je Ruská federácia zastúpená Ministerstvom obrany Ruskej federácie. Na schémach sú znázornené kľúčové prvky odpaľovacieho zariadenia
1.jpg
14P222 (14П222)
2.jpg
14P222 (14П222)
3.jpg
14P222 (14П222)
Zdroj https://vk.com/wall-104764077_281049 z 26.01.2022
Text v RU:
14П222 - самоходная пусковая установка для двух ракет космического назначения 14А042 комплекса 14Ц033 (ОКР «Нудоль»). Пусковая установка разработана в «КБ специального машиностроения» (КБСМ), в качестве шасси агрегата используется специальное колесное шасси МЗКТ-792911.
Источник иллюстраций: патент RU 187 952 U1 на элементы ТВР, патентообладатель Российская Федерация в лице Министерства обороны РФ. На схемах указаны ключевые элементы пусковой установки и системы обеспечения температурно-влажностного режима в ТПК, описание элементов можно посмотреть в прикрепленном патенте.
+ PDF v https://t.me/warbolts/809 (ktoré mi nejde stiahnuť)


k42
Redaktor - závislák :-)
Příspěvky: 5811
Registrován: 09 úno 2017, 07:11

Re: RF - Proti-raketová a proti-družicová obrana

Příspěvek od k42 » 27 led 2022, 21:11

Takže už mají i mobilní kontejnerovou verzi s odpalováním. Vzhledem k šílenému zrychlení a výkonu Nudolu se dlouho pochybovalo, zda to bude i v jiné verzi než jen šachtové... A evidentně odpalovák přežije start rakety, když tam mají rovnou dvě. Před časem mnozí odborníci tvrdili, že něco takového je nemožné.

Alchymista
Redakční rada
Příspěvky: 55752
Registrován: 01 úno 2017, 08:58

Re: RF - Proti-raketová a proti-družicová obrana

Příspěvek od Alchymista » 27 led 2022, 21:18

Videl si tie rakety? Ja teda "spoľahlivo" nie...
A podľa videí sú "Nudol" z mobilného odpalováku a "Nudol" PRS-1M (45T6) / PRS-1 (53T6) zo šachty dve zásadne odlišné rakety

toto by mal byť system 55R6M (S-500) s palebným vozidlom 77P6 a raketa 77N6
Zásadný detail - 77P6 má vzadu tri nápravy, Nudol by mal mať vzadu nápravy štyri - a taký odpalovák som doteraz na videu zrejme nevidel (nie v akcii - pri paľbe)
COVID-19 nie je choroba, COVID-19 je globálny test inteligencie jedincov, spoločenstiev, národov a štátov.
Dinosauri sa venovali výhradne problémom vlastného rastu.

Uživatelský avatar
petrp
Šéfredaktor
Příspěvky: 19285
Registrován: 31 led 2017, 18:04

Re: RF - Proti-raketová a proti-družicová obrana

Příspěvek od petrp » 27 led 2022, 21:19

Právě v tomto prvku mají rusové v raketové technice obrovský náskok přede všemi - vše je vysoce mobilní... :idea:
Máš rozum? „Mám.“ Proč ho tedy neužíváš? Neboť když ten plní svou povinnost, co jiného ještě chceš? Marcus Aurelius "Hovory k sobě"
Propaganda z lidí idioty nedělá, propaganda je na idioty cílená. G. B. Shaw

kenavf
Sponzor fóra
Příspěvky: 12903
Registrován: 07 úno 2017, 19:59

Re: RF - Proti-raketová a proti-družicová obrana

Příspěvek od kenavf » 28 led 2022, 00:42

U toho Nudolu je kontajner cez celú šírku auta, IMHO raketa nebude omoc tenšia. Z videa štartu sa mi zdá že štartuje priamo na raketový motor a nie je najprv katapultovaný.


U tej S-500 sú podstatne tenšie kontajnery a štart sa začína katapultovaním a raketový motor sa zapáli až niekoľko desiatok metrov nad zemou.(teda klasicky ako u ostatných S-x00)
"Vieru rozumom nevyvrátiš, to je vec emócií".
"Jediné čo potrebujú nečisté síly k svojmu víťazstvu je to, aby slušní ľudia neurobili nič." -Edmund Burke.

Alchymista
Redakční rada
Příspěvky: 55752
Registrován: 01 úno 2017, 08:58

Re: RF - Proti-raketová a proti-družicová obrana

Příspěvek od Alchymista » 28 led 2022, 14:44

A je to tu - nepochopenie problému... Je pekné, že nám ukážeš ďalšie video rakiet "Nudol" PRS-1M (45T6) / PRS-1 (53T6) pre stacionárny komplex A-235.
Ale to je stará otrepaná záležitosť.

Nás zaujíma raketa Nudol 14A042 :!:
COVID-19 nie je choroba, COVID-19 je globálny test inteligencie jedincov, spoločenstiev, národov a štátov.
Dinosauri sa venovali výhradne problémom vlastného rastu.

Uživatelský avatar
Havy
Redakční rada
Příspěvky: 957
Registrován: 17 úno 2017, 12:03

Re: RF - Proti-raketová a proti-družicová obrana

Příspěvek od Havy » 30 čer 2023, 21:07

Pro fajnšmekry.
Původ a fungování Kinžálu (kvalifikované odhady).
Souboj s Patriotem.
Na mobilu jsme nepřekládal, dávám sem odkaz.

Kinzhal vs Patriot
https://bmanalysis.substack.com/p/kinzh ... dium=email
"Bez dat jsi jen další člověk s názorem."

Odpovědět